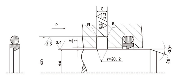
Rod Seal BSJ Series

road seal IDI1A road seal sl na

Produced with a combination of special compound PTFE ring and 70 shore NBR O-ring, our BSJ design has a wide application area. Being able to be usded safely at high linear velocity,BSJ type seals can also work in higher temperatures or different liquids by means of changing O-ring used as pressure ring.            
By the help of its profile design they can be used as header pressure ring in hydaulic systems without having the problem of hydro-dynamic pressure.

Technical Data    
Pressure:  400 Bar    
Temperature: with NBR O-ring: -35 to +105  
with FKM O-ring: -35 to +200
Speed:  5m/s
Media: Hydraulic oils (mineral oil-based)
 
Material    
Material: Almost all media  O-ring: NBR/FKM    
Color: Green/Brown  O-ring: Black/Brown    
    
Advantages    
High static and dynamic sealing effect    
Low friction, high efficiency    
Stick-slip free starting, no sticking    
Easy installation

favicon bacd

+(39) 347 051 5328

Italy - Kazakhstan

09.00am to 18.00pm

About

We offer the best and economical solutions, backed by 27+ years of experience and international standards knowledge, echnological changes, and industrial systems.

Marketing Materials

Spring Renovation
Industry
US Gas Company
Construct
Plus Project
Vam Drilling Service
X Project
X Project
Cabrrus Training

Marketing Materials1

Spring Renovation
Industry
US Gas Company
Construct
Plus Project
Vam Drilling Service
ultrasonic sensor
ultrasonic sensor
Cabrrus Training